Prepared for innovation and invention
The creation of an industry

Peik's Patents
Some would say that Louis D. Peik, of the American Foundry Equipment Co., invented wheelblasting with a patent in 1933.
As the machine threw an abrasive by a wheel-like device, the term "Wheelabrator" was born.
In 1933, the new Wheelabrator machines were launched with great success, and in 1935, Tilghman's in the UK started to build licensed Wheelabrator machines.
In 1945, American Foundry changed its name to American Wheelabrator & Equipment Company. In 1966 it acquired 40% of Tilghman's, and the company became Tilghman Wheelabrator - which then became fully owned by American Wheelabrator in 1973.
Benjamin Chew Tilghman invented the sandblasting (air blast) process in 1869 and filed a patent in the USA. He formed "Tilghman's Patent Sand Blast Co." at Gray's Inn Road, London and in 1879 moved the company to Altrincham. This company later became Tilghman Wheelabrator, and eventually Wheelabrator Group. Our head office is still in Altrincham, in the UK.
Badische Maschinenfabrik in Durlach
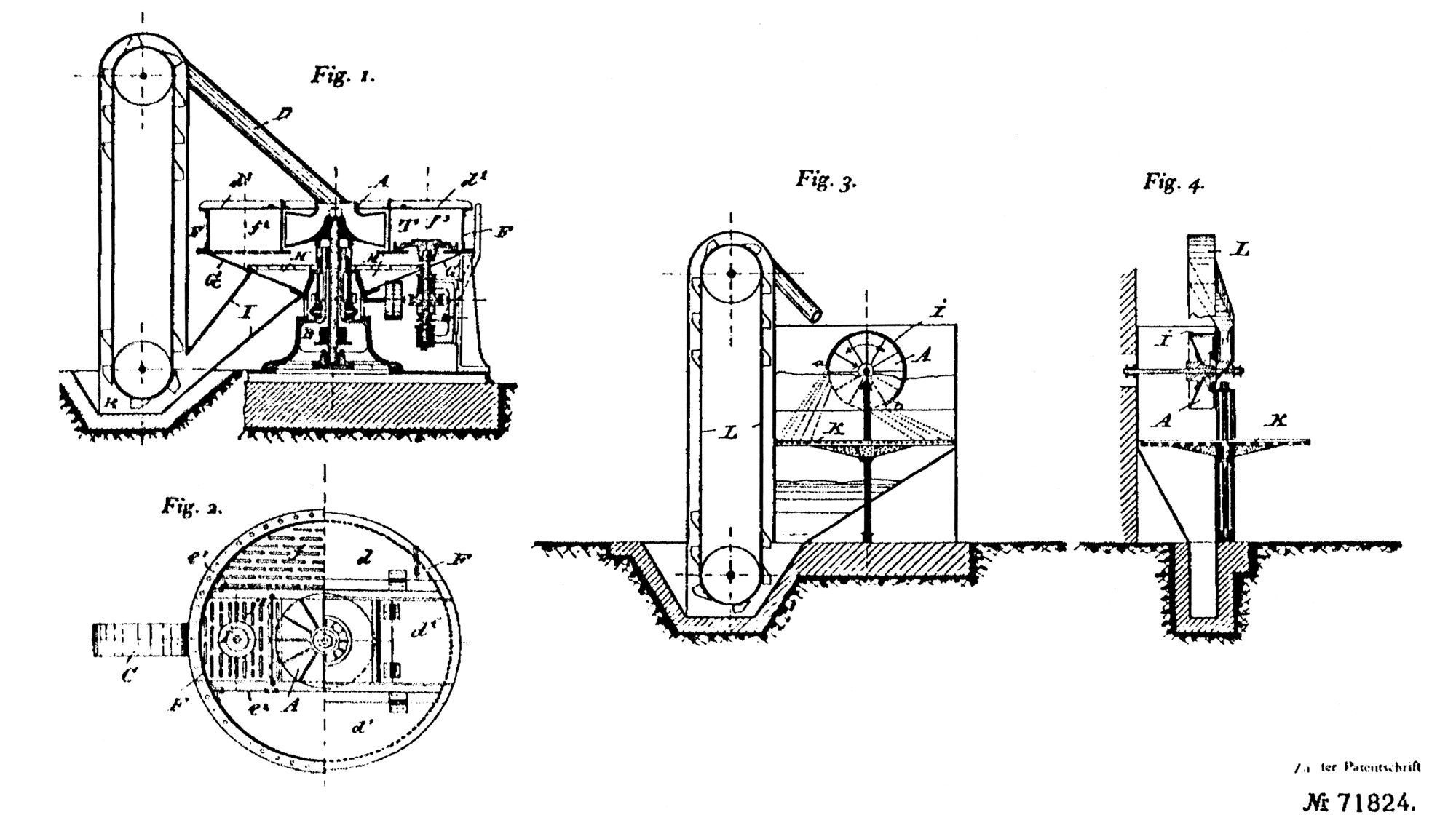
When Louis D Peik registered his patent for a blast wheel in the 1930's, we can only guess that he hadn't been made aware of the BMD "Gusssputzmaschine" patent some 40 years earlier.
"For the cleaning of castings, a turbine wheel serves; which turns at high speed and propels from the middle sand, stone, granulated iron and other such materials... to clean the surface of castings."
(Take a look at the patent documentation below.)
Badische Maschinenfabrik & Eisengiesserei (or later BMD) is a former DISA, and therefore former Wheelabrator company.

Throughout its history, Wheelabrator has continued to pioneer new techniques and technologies, continually striving to serve its customers
Notable Innovation at Wheelabrator:
1869: Patent for the sand blast process (Tilghman, UK)
1893: Patent for the first blast wheel (Badische Maschinenfabrik, Germany)
1932: Patent for the first tumblast machine (American Foundry, USA)
1933: Patent for the first blast wheel, the “Wheelabrator”, by American Foundry
1940: Led the development of shot peening equipment
1950: Introduction of wire and strip descalers
1978: Introduction of the first Continuous Throughfeed machine
1980: Introduction of Manipulator machines for powertrain castings
1980: Launch of the Universal (U-) wheel
1986: Sale of the first Preservation Line into China
2000: Patent for the Robot Gripper
2003: Launch of the EZEFIT wheel (USA)
2007: Launch of the TITAN wheel
2011: Introduction of the Inclined Belt (IBC) machine
2012: Introduction of the Advanced Internal Cleaning (AIC) machine
2013: Launch of the SG130 Blast Head
2015: Introduction of the Compact Blast machine
2015: Launch of the Carousel Rotating Chamber machine
2015: Introduction of the Flexible Lance Internal Peening system
2015: Launch of the COMET HD wheel
2015: Launch of the SRS-4 Stress Peening machine
2016: Launch of new Robot Peener
2016: Launch of entry-level model CT-2 Continuous through-feed machine
2018: Launch of light, entry-level version of the DT Continuous through-feed machine
2018: Launch of LBS 1000 mesh belt machine for aluminium applications
2018: Launch of compact SPH Spinner-Hanger machine for aluminium applications
2018: Launch of re-engineered HTS Hanger type machine
2019: Launch of compact and space saving new CMS Mesh Belt Shot Blast Machine for medium-duty applications
2019: Launch of IDS Internal Cleaning Machine for precise internal blast cleaning
2019: Launch of digital solutions and monitizer (with Norican Digital)
Related Content


